October 11, 2018

Would biometric feedback shopping carts creep out Walmart’s customers?

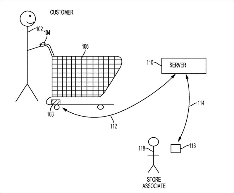
Walmart has filed an application for a patent on shopping cart technology that uses sensors in the handles to track not only the speed of the cart but the heart rate and body temperature of the person pushing it along. The news has some saying … well, “Ewww.”

While many articles reporting on the technology were neutral, other columnists found the thought of its application in stores disturbing for its big brother-like intrusiveness. Here are three headlines that make the point: 

  • “Walmart’s terrifying shopping cart design measures your speed and heart rate” 
  • “Creepy Walmart Patent Reveals Shopping Carts That Track Your Pulse” 
  • “Walmart Just Filed for a Weird Patent. Shopping Carts May Never Be the Same” 
Patent Application No.: US 2018/020554 A1 – Source: United States Patent and Trademark Office

The patent application abstract posits that collecting the biometric data through the cart’s handles in near-real-time will allow the store to identify and direct associates to assist customers in need of help. A pulse oximeter would be able to identify customers who may be on the verge of passing out, reports Motherboard.

While alerting associates to better serve customers is one potential use for the technology, there are others, as well. The patent, according to Motherboard, also describes a weight-triggered function that propels the cart forward as it fills up.

BrainTrust

"The creepiness aspect aside, it’s not even clear that it is legal to collect this data without explicit consent each time someone chooses a biometric-enabled cart. "
Avatar of Dr. Stephen Needel

Dr. Stephen Needel

Managing Partner, Advanced Simulations


Discussion Questions

DISCUSSION QUESTIONS: How do you think Walmart shoppers would react to the shopping cart technology described in its patent application? If implemented, how would the data collected through shopping carts complement other information Walmart has on customers in its stores? 

Poll

22 Comments
Oldest
Newest Most Voted
Inline Feedbacks
View all comments
Neil Saunders
Neil Saunders

I don’t see any benefit at all for the consumer. The idea that Walmart can monitor and come to the aid of a customer about to collapse is PR puff: I mean, how often does this happen in Walmart stores while people are pushing carts?

This is about Walmart being able to gather data on in-store behavior. That’s fine, but I would object to having my vitals measured while doing a shop. I am sure many other people would too.

Mark Ryski

I’m all for smart carts, but collecting biometric data crosses the line. Biometric data will be used to “identify customers who may be on the verge of passing out”– seriously? There’s a lot of data retailers collect in the name of customer service, but if there’s not a clear reason why they’re collecting data, and being completely transparent with shoppers, it’s a very slippery slope.

Dr. Stephen Needel

The creepiness aspect aside, it’s not even clear that it is legal to collect this data without explicit consent each time someone chooses a biometric-enabled cart. Their rationale is silly — there are not enough people passing out in Walmart to justify the cost of the carts. They want to see if your pulse goes up as you pass the Oreo cookies display. This data is much less useful than they probably realize.

Jeff Sward

Beyond creepy. Beyond intrusive. Beyond Orwellian. Count me out as a Walmart shopper if this ever happens. The quest for data is getting a little out of hand. Too many retailers can’t even figure out fixture capacity and end up putting four pounds into a two pound bag. And now they want my heart rate? Not the shopping “experience” I had in mind.

Ken Lonyai
Ken Lonyai

Absolute journalist PR bait (learned at the knee of Amazon) and here we are discussing it.

Everything except (to a limited degree) the weight-triggered function that propels the cart forward as it fills up is ridiculous and even that is too impractical to have any meaning.

Touche Walmart!

Bob Amster

What next? Tell me when I need to take a shower?

Mark Ryski
Reply to  Bob Amster

Yes, and automatically drag you to the soap aisle 😉

Kai Clarke
Kai Clarke

Parts of this patent, like speed-based weight sensors, make great sense. Others like pulse-reading technology threaten personal privacy and may end-up nullifying any possible uses this patent may offer. Distinguishing feedback from tracking and recording a customer’s personal information will be a tremendous issue in the implementation of this patent. This alone might be enough to stop the usage of this technology in stores where customers are very sensitive about where they shop based upon personal preference.

Cynthia Holcomb
Cynthia Holcomb

Wow! So glad Walmart is addressing the common issue of passing out in the grocery store. Possibly Walmart can book my next doctor appointment while I shop. Walmart engineers or whoever is filing patents need to get out of their headset!

Ryan Mathews

I don’t know about the customers, but their lawyers would love it. This is perhaps the classic example of, “just because you can doesn’t mean you should” technology. Yes it’s creepy, but it is also ridiculous on its face. How many Walmart customers collapse on any given day? This is a fix for a problem that doesn’t exist. I assume that at some point at least one customer has suffered a heart attack while shopping at Walmart. Does this mean that it is a good idea to strap portable EKG machines on everyone as they enter the store? Of course not. Biometrics will have a huge place in the future of retail, but this isn’t even a good half step in the right direction. If it is a publicity stunt, as some here suggest, it’s a dumb one. At least when Amazon does this kind of thing it appears that whatever they are flogging might have some consumer benefit.

Paula Rosenblum

I do think customers would not like it and, as Neil said below, there is absolutely nothing in it for them.

Frank Riso
Frank Riso

I did not know that so many customers at Walmart were in need of medical help while shopping at their stores. If the cart also helped with some customers who suffer from wardrobe malfunction, that would be all good! I think shoppers would not like this technology for any number of reasons including their health issues. If implemented there are a number of positives that could be very important to Walmart. Dr. Herb Sorensen has done extensive research in the use of shopping carts and the speed, path and duration a customer spends in one area over another area. His studies have been used to better shape allocation of product as well as location of product all to produce higher sales. However, cart technology that requires power has always gone away as the infrastructure to support powering the carts creates significant costs.

Ananda Chakravarty
Ananda Chakravarty

Wow! The shopping cart introduced in 1937 has come a long way… It would have to have practical impact for the customer (e.g. powered movement, automated store tracking, coffee cup holder – ideally with a free coffee station, or embedded scanning) to make it work. Pulse and temperature notwithstanding, it really isn’t that personal and retailers are still not able to map these to customer identity, speed of the cart wouldn’t be a big deal for most shoppers — except kids abusing the cart. It can also help track lost carts in a parking lot. For the data collected on where shoppers are going inside the store, the cart can be invaluable to the retailer. With an internal wireless system, it would be better than tracking a mobile device — even reducing the creepiness, costs, and inaccuracies that comes with tracking personal devices. Design it a bit more user friendly, with an option to shut it off and there shouldn’t be much pushback.

Scott Norris
Scott Norris

Couldn’t the location tracking be just as easily done with an RFID tag pasted onto the cart, and using passive sensors already in (or soon to be installed in) the store/parking lot? Why would they even need to have a powered cart if that was a key benefit?

As far as mapping biometric data to individual shoppers, all they’d have to do is tie the cart location data to the CCTV camera network and run facial-recognition software against it. Bingo.

Ananda Chakravarty
Ananda Chakravarty
Reply to  Scott Norris

Yes, there are better ways. For mapping biometrics — easier said than done, and would be a challenge to make it real-time. Few retailers are that advanced. Fewer still can do that across chains of 500 stores or more, much less Walmart’s 5000+ stores. Lots of infrastructure, and CCTV is becoming a relic. New camera systems are cloud based and inherently cheaper to install and deploy. The practical, customer value applications need to be figured out, but that’s no reason not to file a patent.

Doug Garnett

Simple answer: Yes, this is creepy.

It’s also concerning for the kinds of development being chosen for patents at Walmart. The danger of tech enthusiasts is when they become more excited about what CAN be done than what SHOULD be done.

Fortunately, I don’t think this will ever turn into reality. It’s probably a defensive patent filing — not intended to become reality.

After all, the number of times it would help would not offset the far, far greater number of false alarms that this kind of technology is well known for (how often does the pulse meter work on the treadmill at the gym? And they are stationary…).

Ray Riley

The data from my interpretation would all seem to be anonymized, which doesn’t concern me a bit. All technology is utilized before it is fully understood, and there are some positive health and potential shopping-focused customer benefits which should be explored. There’s always the inverse; the negative exploitative methods. My primary concern as a shopper would be what identification criteria exists, but if a prototype enters the stores that should be celebrated. Walmart is no small retailer, and they have a war chest to lead innovation in physical retail.

Georganne Bender
Georganne Bender

Yeah… NO.

Aside from the “weight-triggered function that propels the cart forward as it fills up” this cart is seriously creepy. No retailer needs to know a customer’s heart rate and body temperature, and what does that reveal about what you’re filling your cart with anyway? This one has me shaking my head.

John Karolefski

Welcome to the future of grocery shopping. When the iCart detects that a shopper is stressed out, the Command Center for Violating Privacy sends a humanoid robot to provide comfort and coupons.

Lee Kent
Lee Kent

This seems to me to be a total waste of a patent and money. What could they do with the information? Tell their customer there may be heart problems and to see a doctor? I don’t think this is information that should come from a cart. But that’s just my 2 cents.

Steve Montgomery
Steve Montgomery

This falls in the because you can doesn’t mean you should category. I understand that in the IoT world privacy is getting harder and harder to maintain (what little there is left of it) but I don’t think having shopping carts measuring and recording biometrics is necessary. While I am not a frequent Walmart shopper this is something that would prompt me to not shop them at all or if I did not to use one of their carts.

Sterling Hawkins

Privacy (in this case a function of your biometrics while pushing the cart) is a value exchange and it changes over time. At this time I don’t think the value exchange is there for customers to be open to that kind of tech. The benefit isn’t worth the cost for consumers. For Walmart, the data could be used to better understand marketing, assortment, customer support and a long list of insights. There’s no doubt that over time Walmart can build up the right kind of value in smart carts for them and their customers.

22 Comments
Oldest
Newest Most Voted
Inline Feedbacks
View all comments
Neil Saunders
Neil Saunders

I don’t see any benefit at all for the consumer. The idea that Walmart can monitor and come to the aid of a customer about to collapse is PR puff: I mean, how often does this happen in Walmart stores while people are pushing carts?

This is about Walmart being able to gather data on in-store behavior. That’s fine, but I would object to having my vitals measured while doing a shop. I am sure many other people would too.

Mark Ryski

I’m all for smart carts, but collecting biometric data crosses the line. Biometric data will be used to “identify customers who may be on the verge of passing out”– seriously? There’s a lot of data retailers collect in the name of customer service, but if there’s not a clear reason why they’re collecting data, and being completely transparent with shoppers, it’s a very slippery slope.

Dr. Stephen Needel

The creepiness aspect aside, it’s not even clear that it is legal to collect this data without explicit consent each time someone chooses a biometric-enabled cart. Their rationale is silly — there are not enough people passing out in Walmart to justify the cost of the carts. They want to see if your pulse goes up as you pass the Oreo cookies display. This data is much less useful than they probably realize.

Jeff Sward

Beyond creepy. Beyond intrusive. Beyond Orwellian. Count me out as a Walmart shopper if this ever happens. The quest for data is getting a little out of hand. Too many retailers can’t even figure out fixture capacity and end up putting four pounds into a two pound bag. And now they want my heart rate? Not the shopping “experience” I had in mind.

Ken Lonyai
Ken Lonyai

Absolute journalist PR bait (learned at the knee of Amazon) and here we are discussing it.

Everything except (to a limited degree) the weight-triggered function that propels the cart forward as it fills up is ridiculous and even that is too impractical to have any meaning.

Touche Walmart!

Bob Amster

What next? Tell me when I need to take a shower?

Mark Ryski
Reply to  Bob Amster

Yes, and automatically drag you to the soap aisle 😉

Kai Clarke
Kai Clarke

Parts of this patent, like speed-based weight sensors, make great sense. Others like pulse-reading technology threaten personal privacy and may end-up nullifying any possible uses this patent may offer. Distinguishing feedback from tracking and recording a customer’s personal information will be a tremendous issue in the implementation of this patent. This alone might be enough to stop the usage of this technology in stores where customers are very sensitive about where they shop based upon personal preference.

Cynthia Holcomb
Cynthia Holcomb

Wow! So glad Walmart is addressing the common issue of passing out in the grocery store. Possibly Walmart can book my next doctor appointment while I shop. Walmart engineers or whoever is filing patents need to get out of their headset!

Ryan Mathews

I don’t know about the customers, but their lawyers would love it. This is perhaps the classic example of, “just because you can doesn’t mean you should” technology. Yes it’s creepy, but it is also ridiculous on its face. How many Walmart customers collapse on any given day? This is a fix for a problem that doesn’t exist. I assume that at some point at least one customer has suffered a heart attack while shopping at Walmart. Does this mean that it is a good idea to strap portable EKG machines on everyone as they enter the store? Of course not. Biometrics will have a huge place in the future of retail, but this isn’t even a good half step in the right direction. If it is a publicity stunt, as some here suggest, it’s a dumb one. At least when Amazon does this kind of thing it appears that whatever they are flogging might have some consumer benefit.

Paula Rosenblum

I do think customers would not like it and, as Neil said below, there is absolutely nothing in it for them.

Frank Riso
Frank Riso

I did not know that so many customers at Walmart were in need of medical help while shopping at their stores. If the cart also helped with some customers who suffer from wardrobe malfunction, that would be all good! I think shoppers would not like this technology for any number of reasons including their health issues. If implemented there are a number of positives that could be very important to Walmart. Dr. Herb Sorensen has done extensive research in the use of shopping carts and the speed, path and duration a customer spends in one area over another area. His studies have been used to better shape allocation of product as well as location of product all to produce higher sales. However, cart technology that requires power has always gone away as the infrastructure to support powering the carts creates significant costs.

Ananda Chakravarty
Ananda Chakravarty

Wow! The shopping cart introduced in 1937 has come a long way… It would have to have practical impact for the customer (e.g. powered movement, automated store tracking, coffee cup holder – ideally with a free coffee station, or embedded scanning) to make it work. Pulse and temperature notwithstanding, it really isn’t that personal and retailers are still not able to map these to customer identity, speed of the cart wouldn’t be a big deal for most shoppers — except kids abusing the cart. It can also help track lost carts in a parking lot. For the data collected on where shoppers are going inside the store, the cart can be invaluable to the retailer. With an internal wireless system, it would be better than tracking a mobile device — even reducing the creepiness, costs, and inaccuracies that comes with tracking personal devices. Design it a bit more user friendly, with an option to shut it off and there shouldn’t be much pushback.

Scott Norris
Scott Norris

Couldn’t the location tracking be just as easily done with an RFID tag pasted onto the cart, and using passive sensors already in (or soon to be installed in) the store/parking lot? Why would they even need to have a powered cart if that was a key benefit?

As far as mapping biometric data to individual shoppers, all they’d have to do is tie the cart location data to the CCTV camera network and run facial-recognition software against it. Bingo.

Ananda Chakravarty
Ananda Chakravarty
Reply to  Scott Norris

Yes, there are better ways. For mapping biometrics — easier said than done, and would be a challenge to make it real-time. Few retailers are that advanced. Fewer still can do that across chains of 500 stores or more, much less Walmart’s 5000+ stores. Lots of infrastructure, and CCTV is becoming a relic. New camera systems are cloud based and inherently cheaper to install and deploy. The practical, customer value applications need to be figured out, but that’s no reason not to file a patent.

Doug Garnett

Simple answer: Yes, this is creepy.

It’s also concerning for the kinds of development being chosen for patents at Walmart. The danger of tech enthusiasts is when they become more excited about what CAN be done than what SHOULD be done.

Fortunately, I don’t think this will ever turn into reality. It’s probably a defensive patent filing — not intended to become reality.

After all, the number of times it would help would not offset the far, far greater number of false alarms that this kind of technology is well known for (how often does the pulse meter work on the treadmill at the gym? And they are stationary…).

Ray Riley

The data from my interpretation would all seem to be anonymized, which doesn’t concern me a bit. All technology is utilized before it is fully understood, and there are some positive health and potential shopping-focused customer benefits which should be explored. There’s always the inverse; the negative exploitative methods. My primary concern as a shopper would be what identification criteria exists, but if a prototype enters the stores that should be celebrated. Walmart is no small retailer, and they have a war chest to lead innovation in physical retail.

Georganne Bender
Georganne Bender

Yeah… NO.

Aside from the “weight-triggered function that propels the cart forward as it fills up” this cart is seriously creepy. No retailer needs to know a customer’s heart rate and body temperature, and what does that reveal about what you’re filling your cart with anyway? This one has me shaking my head.

John Karolefski

Welcome to the future of grocery shopping. When the iCart detects that a shopper is stressed out, the Command Center for Violating Privacy sends a humanoid robot to provide comfort and coupons.

Lee Kent
Lee Kent

This seems to me to be a total waste of a patent and money. What could they do with the information? Tell their customer there may be heart problems and to see a doctor? I don’t think this is information that should come from a cart. But that’s just my 2 cents.

Steve Montgomery
Steve Montgomery

This falls in the because you can doesn’t mean you should category. I understand that in the IoT world privacy is getting harder and harder to maintain (what little there is left of it) but I don’t think having shopping carts measuring and recording biometrics is necessary. While I am not a frequent Walmart shopper this is something that would prompt me to not shop them at all or if I did not to use one of their carts.

Sterling Hawkins

Privacy (in this case a function of your biometrics while pushing the cart) is a value exchange and it changes over time. At this time I don’t think the value exchange is there for customers to be open to that kind of tech. The benefit isn’t worth the cost for consumers. For Walmart, the data could be used to better understand marketing, assortment, customer support and a long list of insights. There’s no doubt that over time Walmart can build up the right kind of value in smart carts for them and their customers.

More Discussions